Mise en évidence expérimentale d'une organisation tomatotopique chez la soprano (Cantatrix sopranica L.)

[English] [note bibliographique] [sommaire]

Georges PEREC
Laboratoire de physiologie
Faculté de médecine Saint-Antoine
Paris, France


RÉSUMÉ:

Démonstration expérimentale d'une organisation tomatotopique chez la Cantatrice.

L'auteur étudie le lancement de la tomate qui provoquait la réaction yellante chez la cantatrice et démontre que plusieurs aires de la cervelle étaient impliquées dans la réponse, en particulier le trajet légumier, les nuclei thalameux et le fiçure musicien de l'hémisphère nord.*


Les effets frappants du jet de tomates sur les sopranos, observés aux heures ultimes du siècle dernier par Marks et Spencer (1899) qui, les premiers, employèrent le terme de réaction de hurlements (RH), ont été largement décrits dans la littérature. Si de nombreuses études expérimentales (Zeeg & Puss, 1931; Roux & Combaluzier, 1932; Sinon & coll., 1948), anatomopathologique (Hun & Deu, 1960), comparative (Karybb & Szyla, 1973) et prospective (Else & Vire, 1974) ont permis de décrire avec précision ces réponses caractéristiques, les données neuroanatomiques, aussi bien que neurophysiologiques sont, en dépit de leur grand nombre, étonnamment confuses. Dans leurs démonstrations désormais classiques, publiées dans la fin des années 20. Chou & Lai (1927 a, 16, c, 1928 a, 16, 1929 a, 1930) ont écarté l'hypothèse d'un simple réflexe nociceptif facio-facial qui avait été émise il y a de nombreuses années par certains auteurs (Mace & Doyne, 1912; Payre & Tairnelle, 1916; Sornette & Billevayze, 1925).

Depuis lors, de nombreux travaux ont été menés pour tenter de résoudre l'énigme embrouillée ainsi que l'embrouillement énigmatique des versants afférent et/ou efférent de la RH et ont conduit à incriminer, de manière quelque peu chaotique, une multitude de structures et de voies : l'existence de voies afférentes trigéminale (Loewenstein et coll., 1930), bitrigéminale (Von Aitick, 1940), quadritrigéminale (Van der Deder, 1950), supra, infra et intertrigéminale (Mason & Ragoun, 1960) a été invoquée avec une certaine vraisemblance, de même que celle de canaux d'entrée maculaire (Zakouski, 1954), sacculaire (Bortsch, 1955), utriculaire (Malosol, 1956), ventriculaire (Tarama, 1957), monoculaire (Zubrowska, 1958), binoculaire (Chachlik, 1959-1960), trioculaire (Strogonoff, 1960), auditif (Balalaïka, 1515) et digestif (Alka-Seltzer, 1815). Des circuits spinothalamiques (Attou & Ratathou, 1974), rubrospinal (Maotz & Toung, 1973), nigrostrié (Szentagothai, 1972), réticulaire ( Pompeiano et coll. 1971), hypothalamique (Hubel & Wiesel, 1970), mésolimbique (Kuffler, 1969) et cérébelleux (High & Low, 1968) ont été explorés en vain, pour tenter d'élucider l'organisation de la RH, et la responsabilité de presque toutes les parties du cortex somesthésique (Pericoloso & Sporghersi, 1973), moteur (Ford, 1930), comissural (Gordon & Bogen, 1974) et associatif (Einstein et coll., 1974) a été évoquée dans le développement progressif de la réponse, bien que, jusqu'à maintenant, les mécanismes afférents et efférents de la RH n'aient jamais été explicités de manière décisive et convaincante.

Unsofort & Tchetera ont observé que " plus on jette de tomates sur les sopranos et plus elles crient "; par ailleurs, des études comparatives, par rapport à la réaction de gasp (Otis & Pifre, 1964), au hoquet (Carpentier & Fialip, 1964), au ronronnement du chat (Remmers & Gautier, 1972), au réflexe HM (Vincent et coll., 1976), à la ventriloquie (Mc Culloch et coll., 1964), aux cris perçants, aigus ou stridents et aux autres réactions hystériques (Sturm & Drang, 1973) provoquées par le jet de tomates, aussi bien que de choux, pommes, tartes à la crème, chaussures, billots et enclumes (Harvar & Mercy, 1973) ont conduit à l'hypothèse solide selon laquelle la RH est déterminée par un mécanisme de rétroaction positive, qui repose sur une interdigitation semilinéaire quadristable à embranchements multiples de sous-réseaux neuronaux fonctionnant en désordre*. (Beulott et coll., 1974).
Bien que cette hypothèse soit assez séduisante, les données anatomiques et physiologiques dont nous disposons sont insuffisantes pour pouvoir l'étayer. Nous avons donc décidé d'explorer de manière systématique l'organisation interne croissante ou décroissante de la RH pour tenter d'élaborer un modèle anatomique.


MATÉRIELS ET MÉTHODE


Préparation

L'expérimentation a porté sur 107 sopranos de sexe feminin, en bonne santé, pesant entre 94 et 124 kg (moyenne: 101 kg), qui nous ont été fournies par le Conservatoire National de Musique.
La tracheotomie, la fixation dans l'Horslay-Clarke et la plupart des gestes opératoires ont été réalisés sous anesthésie par halothane. De la procaïne a 5 % a été injectée dans les berges cutanées et aux points de pression. Les animaux ont ensuite été immobilisés à l'aide de triéthyiodide de gallamine (40 mg/kg/heure) et maintenus en normocapnie grâce à une ventilation artificielle adaptée. Des dissections transversales de la moelle épinière ont été réalisées au niveau de L3/T2 ce qui a permis de supprimer les variations de la pression artérielle et de la sécrétion d'adrénaline induites par le jet de tomate (Giscard d'Estaing, 1974).
A aucun moment les animaux n'ont souffert, comme le démontre le fait qu'ils n'aient pas cessé de sourire tout au long de l'expérimentation. La température interne a été maintenue à 38°C +/- 4°F à l'aide de 3 bouilloires électriques.

Stimulation

Les tomates (Tomato rungisia vulgaris) ont été lancées par un lanceur dc tomate automatique (Wait & See, 1972) commandé par un ordinateur de laboratoire polyvalent (DID/92/85/P331), avec traitement des données en série.
Les jets répétitifs ont permis d'atteindre 9 projections par seconde, ce qui correspond aux conditions physiologiques rencontrées par les sopranos et les autres chanteuses sur la scène (Tebaldi, 1953).
Nous avons pris soin d'éviter les projections ratées sur les membres supérieurs et/ou inférieurs, le tronc et les fesses. Seules les tomates atteignant la face et le cou ont été prises en compte.

Les données ont été contrôlées par rapport au lancement d'autres projectiles: trognons de pomme, rognures de choux, chapeaux, roses, citrouilles, balles de fusil et ketchup (Heinz, 1952).

Enregistrement

L'activité des différentes aires cérébrales a été enregistrée par l'intermédiaire de semi macro-électrodes en alliage verre-tungstène placées au petit bonheur* selon la méthode de Zyszytrakyczywsz-Sckrawszhwez (1974). La détection des pointes a été assurée par audiomonitoring : chaque fois qu'une décharge était entendue, elle était soigneusement photographiée, enregistrée, affichée sur un monographe et, après intégration, sur un polygraphe. L'analyse statistique des résultats a été réalisée au moyen d'un algorithme inspiré du tennis (Wimbledon, 1974), c'est-a-dire que chaque fois qu'une structure gagnait un jeu, elle était considérée comme étant impliquée dans la RH.

Histologie

Au terme de l'expérimentation, les sopranos ont été perfusées avec de l'huile d'olive et du Glennfidish à 10 %, et mise à incuber à 42,1°C pendant 47 heures, dans du jus d'orange à 15 %. Des coupes de tissus congelés, non colorées, de 2 cm d'épaisseur ont été montées dans un sorbet à la fraise et examinées en microscopie à balayage et à époussetage.
L'examen histologique a confirmé que toutes les électrodes étaient situées dans le cerveau, à l'exception de 4 d'entre elles, qui se trouvaient dans la queue de cheval et le filum terminal, et qui ont été exclues de l'analyse statistique.

RÉSULTATS


Les explorations stéreotaxiques du cerveau durant le jet de tomates ont montré que la plupart des aires cérébrales répondent de manière différentes à la stimulation tomatesthétique.
Comme le montre le tableau 1, qui résume les principaux résultats observés, trois (3) aires distinctes ont donné des réponses constantes, précises et non ambiguës : le nucleus anterior reticularis thalami pars lateralis (NART pl), ou nucleus de Pesch (Pesch, 1876; Poissy, 1880, Jeanpace & Desmeyeurs, 1932), la partie antérieure du tractus leguminosus (paTL), qui est situé à 3,5 mm au?dessus de l'obex et à 4 mm à droite de la tente, et la partie dorsale de la région de l'hémisphère gauche dénommée " sulcus musical, (sc MS) (Donen & Kelly, 1956).
Il est intéressant de noter que si l'hémisphère gauche a été pris en compte pour l'analyse statistique, l'hémisphère droit a été laissé de côté**.

Tableau 1 : Réponses des différentes parties du cerveau à la
stimulation tomatotopique à diverses fréquences
RégionsStimulations tomatiques

1/s2/s3/s4/s5/s15/s

Cerveau entier0,00,0 4,20,60,7000,1
Ere du raphé3,14,1 5,95,95,9000,2
Septum±167875 1210003517
Thalamus2,2√3456 ±78,90,0001
NART pl456+2-4 §§<<2>>±0,001
Hypothalamus±''3 1&2 4] S.G121 beaucoup
Hyppocampe1/23 % √ƒ7 ? <16 0± ±7
Cortex cérébral oui <55 nsp
{0}
0
± ∞ 71±70
scMS 31 65 >87 ∞ +345
4
un peu
apTL 0,0 3,1 6,7 √4 - 56%
Amygdale +3 ±3 3,3 333 3 3,33
N. Poissy →8 0,0 →1 12←M/5 1+1=2
N. Pesch 3&4 781 ↑2 ↓34 ! !!!!!
N. ruber A51 ???
3
4
7
0
415 peut-être

Fig. 1 : Activité des structures réagissant à la stimulation tomatique. Le trait horizontal indique le début et la fin du stimulus. Etalonnage : 3,1416 ms. Chaque tracé est formé par la superposition de 33,57 enregistrements successifs. Remarquez le point en A, la flèche en B et le triangle noir en C.

Des exemples de réponses de ces structures sont représentés sur la figure 1, où l'analyse temporelle de la distribution des pointes fondée sur les caractéristiques de la répartition aléatoire temporelle programée (RATP) des aires étudiées permet de distinguer 3 sous-types d'unités cérébrales : 1 ) les unités répondant avant la stimulation ; 2 ) les unités répondant au cours de la stimulation ; 3 ) les unités répondant après la stimulation.
La comparaison des réponses obtenues avec la stimulation par le ketchup et d'autres projectiles, résumée dans la figure 2, apporte des arguments indiscutables en faveur de l'existence d'une organisation tomatotopique de la RH le long, entre et à travers le NARTpl, la paTL et le scMS.

Fig. 2 : Exemples de réponses provoquées par la tomate et d'autres projectiles. Explications dans le texte A = tomate, B = pomme, C = chou, D = chapeau, E= roses, F = ketchup®, G = potiron, H = balle de fusil

Fig. 3 : Relation temporelle entre les réponses enregistrées dans la région impliquée dans la RH. Abcisse : unités arbitraires ; ordonnées : unités internationales.Explications dans le texte

Les relations temporelles entre ces réponses, illustrées par la
figure 3, montrent que l'hypothèse d'une interdigitation en faisceau de sous-réseaux neuronaux est très probable, bien qu'aucune donnée expérimentale ne permette de le confirmer, en raison de la relative difficulté de pénétrer dans ces satanées structures sans détruire tout un tas de choses (Timeo et coll., 1971).

DISCUSSION


Il a été démontré plus haut que le jet de tomates provoque, outre un certain nombre d'autres réactions motrice, visuelle, végétative et comportementale, des réponses neuronales dans trois aires cérébrales distinctes : le nucleus anterior reticular thalami pars lateralis (NARTpl), la partie antérieure du tractus leguminosus (paTL) et la partie dorsale de la zone dénommée sulcus musicalis (sc MS).Comme l'ont démontré Chou & Lai (1929 ), Lai/Chou (1931a, ) et Unsofort & Tchetera (1972), le mécanisme de la RH ne peut être réduit à un simple réflexe oligosynaptique facio-facial nociceptif qui prendrait son relais dans les voies ascendantes tomatonergiques paleospinorubro-yello-tectocerebello-nigrostriées.Le fait que de la péroxydase de raifort injectée dans les cordes vocales des sopranos soit transportée de manière rétrograde des dendrites apicales des nefs vagues vers les synapses tomatotomatiques des voies afférentes du psudo-Gasser controlatéral (Mc Hulott et coll., 1975) démontre avec quelque vraisemblance la nature légumineuse du médiateur tresponsable de la transmission du message des territoires réceptifs à la tomate au circuit de la RTH (Colle et coll., 1973). La 3,5 (M-tri) argyril-β-L-tomatase, qui est trisynthétisée de manière élective sdans le faisceau du NARTpl-ap TL et dont la destruction inhibe totalement la RH (Others et coll., 1974), fait figure de principal candidat pour remplir le rôle de transmetteur dans la boucle de rétroaction de la RH, bien qu'une autre hypothèse, fondée sur les calculs de latence et les corrélations sur la fréquence des co-croisements, suggère l'existence possible d'une synapse tomatotonique (confère Dendritt & Haxon, 1975).

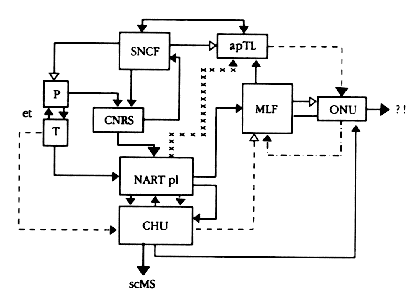
Fig. 4 : Tentative d'élaboration d'un modèle anatomique du mécanisme de la RH. Explications dans le texte ou ailleurs. Lignes contin ues = inhibition, lignes discontinues = interrogation, lignes étoilées = redhibition, lignes en pointillé = substentation.

Bien que l'on manque encore de données expérimentales indiscutables, et que d'autres essais soient nécessaires pour parvenir à élucider totalement le mécanisme de la RH, il semble logique de reconnaître que l'ensemble des arguments cités plus haut et des résultats expérimentaux rapportés dans notre travail militent en faveur de l'hypothèse d'une organisation semilinéaire, multistable à embranchements multiples, à réseau dorsal et à déterminisme alimentaire de la RH, ce qui permet de proposer un modèle anatomique
(figure 4).

Ce travail a pu être mené grâce aux subventions accordées par le syndicat régional des producteurs de fruits et légumes,
l'association française des amateurs d'art lyrique (AFAAL) et la fédération internationale des dactylo-bibliographes (FIDB).


RÉFÉRENCES


  1. Alka-Seltzer, L. Untersuchungen : "Uber die tomatostaltische Reflexe beim Walküre". Bayreuth Monatschr. f. exp. Biol. 184, 34-43, 1815.
  2. Attou, J. & Ratathou, F. Laminar : "Configuration of the thalamo-tomatic relay nuclei. Experimental study with Fink-Heimer-Gygax methods". In : The Hyperthalamus", Ed. by V. Cointreau and M. Brizard, Cambridge, Oxford U.P., pp. 32-88, 1974.
  3. Balalaïka, P. : "Deafness caused by tomato injury. Observations on half a case." Acta. pathol. marignan. 1, 1-7,1515.
  4. Beulott, A., Rebeloth, B. & Dizdeudayre, C.D. : "Brain designing". Châteauneuf-en-Thymersis, Institute of advanced studies (vol. 17), 1974.
  5. Bortsch, B. : "Saccular disturbances produced by whistling (in russian)". Fortschr. Hals-Nasen-Ohrenheilk. 3, 412-417, 1955.
  6. Carpentier, H. & Fialip, L. : "Tomato calibres & swallowing". Bull. diet. gastrom. Physiol. 3, 141-167, 1964.
  7. Chachlik, I. : "Vocal performance and binoculars". Covent Gard. J. 307, 1975-1080, 1959-1960.
  8. Chou, O. & Lai, A. : "Tomatic inhibition in the decerebrate baritone". Proc. koning. Akad. Wiss., Amst. 279, 33, 1927a.
  9. Chou, O. & Lai, A. : "Note on the tomatic inhibition in the singing gorilla". Acta laryngol. 8, 41-42, 1927b.
  10. Chou, O. & Lai, A. : "Further comments on inhibitory responses to tomato splitting in Soloists". Z. f. Haendel Will. 17, 75-80, 1927c.
  11. Chou, O. & Lai, A. : "Faradic responses to tomatic stimulation in the buzzling ouistiti". J. amer. metempsych. Soc. 19, 100-120, 1928a.
  12. Chou, O. & Lai, A. : "Charlotte's syndrome is not a withdrawal reflex. A reply to Roux & Combaluzier". Folia pathol. musicol. 7, 13-17 1928b.
  13. Chou, O. & Lai, A. : "Tomatic excitation and inhibition in awake Counteralts with discrete or massive brain lesions". Acta chirurg. concertgebouw., Amst. 17, 23-30, 1929a.
  14. Chou, O. & Lai, A. : "Musicali effetti del tomatino jettatura durante il reprezentazione dell' opere di Verdi". In: Festschrift am Arturo Toscanini, herausgegeb. vom A. Pick, I. Pick, E. Kohl & E. Gramm., München, Thieme & Becker, pp. 145-172, 1929b.
  15. Chou, O & Lai, A. : "Suprasegmental contribution to the yelling reaction. Experiments with stimulation and destruction". Ztschr. f. d. ges. Neur. u. Psychiat. 130, 631-677, 1930.
  16. Colle, E., Etahl, E & Others, S. : "Leguminase pathways in the brain. A new theory". J. Neurochem. Neurocytol. Enzymol. 1, 8-345, 1973.
  17. Dendritt, A. & Haxon, B. : "Synaptic contacts in the Lily Pons". Brain Res., 1975 (in the press).
  18. Donen, S. & Kelly, G. : "Singing in the brain". Los Angeles, M.G.M. Inc. Press. 1956.
  19. Einstein, Z., Zweistein, D., Dreistein, V., Vierstein, F. & St. Pierre, E. : "Spatial integration in the temporal cortex". Res. Proc. neurophysiol Fanatic Soc. 1, 45-52, 1974.
  20. Else, K. & Vire, A. de : "45-years tomato throwing on amateur Singers". New Records Ass. J. 27, 37-38, 1974.
  21. Ford, G. : "Highways and pathways for motor control". J. pyramid. Soc. 30, 30, 1930.
  22. Giscard d'Estaing, V. : "Discours aux transporteurs routiers de Rungis". C. r. Soc. fr. Tomatol. 422, 6, 1974.
  23. Gorden, H.W. & Bogen, J.E. : "Hemispheric lateralization of singing after intracarotid sodium amylobarbitone". J. Neurol. Neurosurg. Psychiat. 37, 727-738, 1974.
  24. Harvar, D. & Mercy, B.C.P. : "Reward and punishment in Olympic throwers". Hammersmith J. 134, 12-15, 1973.
  25. Heinz, D. : "Biological effects of ketchup splatching". J. Food Cosmet. Ind. 72, 42-62, 1952.
  26. High, A.B.C.D. & Low, E.F.G.H. : "Cerebellar aphonia and the Callas syndrome". Brain 91, 23-1, 1968.
  27. Hubel, D.H. & Wiesel, T.N. : "Receptive & tomato fields in the zona incerta". Experientia 25, 2, 1970.
  28. Hun, O. & Deu, I. : "Tonic, diatonic, & catatonic stage-distress syndromes". Basel, Karger, 1960.
  29. Jeanpace, L. & Desmeyeurs, P. : "Recherches histologiques sur les noyaux de Pesch & de Poissy". Dijon med. 5, 1-73, 1932.
  30. Karybb, H. & Szyla, H. : "Of birds and men: calling strategies and humming responses". Biol. Gaz. Elec. 73, 19-73, 1973.
  31. Kuffler, S.W. :"Papezian control of aggressive borborygms in Julliard drop-out". J. physiol. Physiol. 2, 21-42, 1969.
  32. Lai, A. & Chou, O. : "Dix-sept recettes faciles au chou et a l'ail. I. Avec des tomates". J. Ass. philharmon. Vet. lang. fr. 3, 1-99, 1931a.
  33. Lai, A. & Chou, O. : "Dix-sept recettes faclles au chou et a l'ail. II. Avec d'autres tomates". J. Ass. philharmon. Vet. lang. fr. 3, 100-1, 1931b.
  34. Loewenstein, W.R., Lowenfeld, I., Lövencraft, N., Løwoenshrift, Q. & Leuwen, X. : "Tomatic neuralgia". J. Neurosurg. Psychiat. Neurol. 340, 34-89, 1930.
  35. Mace, I. & Doyne, J. : "Sur les différents types de réactions tomateuses chez la Cantatrice". Gaz. méd. franco-rus. 6, 6-11, 1912.
  36. Malosol, T. : "Utricular responses during tomato conditioning". Bull. med. Aunis & Saintonge 43, 6-11, 1956.
  37. Maotz, E. & Toung, I. : "Tomatic innervation of the nucleus ruber". Proc. Opossum Soc. 70, 717-727, 1973.
  38. Markms, C.N.R.S. & Spencer, D.G.R.S.T. : "About the frightening reactions that accompanied first performances of Il trovatore at the Metropolitan". Amer. J. music. Deficiency 7, 3-6, 1899.
  39. Mason, H.W. & Rangoun, S.W. : "Paratrigeminaloid musicalgia". In: 3rd Conference on the Rimsky-Korsakoff syndrome, ed. by T. Thanos & P. Roxidase, Springfield, Ill., C. C. Thomate, pp. 31-57, 1960.
  40. McCulloch, W.S., Pitts, W.H. & Levin, R.D.Jr. : "What's the frog stomach tells to the frog's audience". Proc. Leap & Frog Ass. 64, 643-1201, 1964.
  41. McHulott, E., Mac Haskett, E. & Massinture, .T.C. : "Fate of exogenous (14C) scotch, (235U) bloodymary and other tritiated compounds injected in laryngeal and pharyngeal pathways". Clin. Bull. B.P.R. Soc. 89, 35-78, 1975.
  42. Others, S., Colle, E. & Etahl, E. : "The enzymase enigma revisited". Am. J. Allegrol. 43, 234-567, 1974.
  43. Otis, J. & Pifre, K. : "Gasping in the ascending pathways". In: Hommage à Henri Eiffel, ed. by D. Haux & D. Bas, Paris. C.N.R.S., pp. 347-950, 1964.
  44. Payre, L. & Tairnelle, E. : "Sur le sursaut tomateux du Baryton léger". C.R. Assoc. Conc. Lam. 45, 6-7, 1916.
  45. Pericoloso, O. & Sporgersi, I. : "Sull'effetti tomestetiche e corticali della stimolazione di leguminose nella Diva". Arch. physiol. Schola Cantor. 37, 1805-1972, 1973.
  46. Pesch, U. : "Experimentelle Beiträge über anterior reticularis Kerne beim Minnesänger". Von Bulow's Arch. f. d. ges. Musikol. 1, 1-658, 1876.
  47. Poissy, N. de : "Atrophie congénitale des Noyaux de Pesch". Bibl. clin. Homeoprat. Lugdun. 65, 22-31, 1880.
  48. Pompeiano, O., Vesuviana, A., Strombolino, H. & Lipari, G. : "Volcaniche effetti della formazione reticolare nella funiculi funicula". C.r. Ass. ital. Amat. Bel Cant. 37, 5-32, 1971.
  49. Remmers, J.E. & Gauthier, H. : "Neural and mechanical mechanisms of feline purring". Respir. Physiol. 16, 351-361, 1972.
  50. Roux, C.F. & Combaluzier, H.U. : "Le syndrome de Charlotte". Weimar Ztschr. musikol. Pomol. 7, 1-14, 1932.
  51. Sinon, E., Evero, I & Ben Trovato, A. : "Psychopathological description of La Furia di Caruso (in italian)". Folia clin. oto-rhinolaryngol., Foum Tataouine 6, 362-363, 1948. (Quoted by Hun & Deu, 1960).
  52. Sornette, U. & Billevayzé, H. : "Les stomatites tomateuses". Arch. municip. Météorol. lyr. Déontol. music. 264, 14-18, 1925.
  53. Strogonoff, H. : "III. Pineal activation and the yelling reaction". Show Busin. med. Gaz. 3, 273-308, 1960.
  54. Sturm, U. & Drang, F. : "Musikalische Katastrophe". Berlin, W. de Gruyter, 1973.
  55. Szentagothai, J. : "The substantia nigra as a striatal machine". Bull. Ass. niger. Neurophysiol. clin. exp., Niamey 23, 25-40, 1972.
  56. Tarama, K. "Acid-base balance". pHD Thesis, San Francisco, 1957.
  57. Tebaldi, R. "La Callas revisited". Metropolitan J. endocrin. Therap. 6, 37-73, 1953.
  58. Timeo, W., Danaos, I. & Dona-Ferentes : "H.E.W. Brain cutting and cooking". Arch. metaphys. endogen. Gastrom. 56, 98-105, 1971.
  59. Unsofort, H & Tchetera : "K.G.B. Shout and Yell". Yale J. Med. 9, 9-19, 1973.
  60. Van der Deder, Von J. : "The yelling pathway". San Diego J. exp. Teratol. 50, Suppl. 24, 1 -28, 1950.
  61. Vincent, J., Milâne, J., Danzunpré, J.J. & Sanvaing-Danlhotte, J.J.J. : "Le réflexe hydro-musical". Gaz. med. Faidh. Chalign. & d.s. Fil., 1976 (in the press).
  62. Von Aitick, A. : "Ueber geminal-niebelungenischen Schmerz". Ztschr. exp. pathol. Tomatol. 4, 4a-64P, 1940.
  63. Wait, H. & See, C. : "Balistic requirements in tomato throwing and splatching". Nasa Rept. N°68/675/002/F4, 1-472, 1972.
  64. Wimbledon, A.F.G.H. : "On the Statistical matching of neuronal and other data". J. dynam. Stat. 5, 1-28, 1974.
  65. Zakouski, B.G.H. : "Investigations d'avant-garde sur les voies fluviales artificielles à moitié rondes dans le hall d'entrée (traduit du russe)". Exp. J. sechenov. Pflügerol. 3, 17-34, 1954.
  66. Zeeg, O & Puss, I.K. : "On the fanatic demonstrations of music lovers". J. behav. developm. Psychobiol. 31, 1-13, 1931.
  67. Zubrowska, A. : "Oculo-tomatic dyskinesia. A preliminary report". J. neuro-neurol. Neurol. 1, 107, 1958.
  68. Zyszytrakyczywsz-Sekräwszkiwcz, I. : "The Monte Carlo theorem as a use in locating brain and other sites". J. math. Vivisec. 27, 134-143, 1974.

* En français dans le texte retour1 retour2 retour3

** NdT: pour restituer dans toute sa complexité la pensée de l'auteur, il semble indispensable de reproduire la phrase originale, qui était : "It is of interest to notice that, if the left hemisphere was kept for analysis, the right hemisphere was left".retour







Note du webmestre :
Tous droits réservés sur ce texte.
Georges Perec écrivit cette version française à l'occasion du jubilée de madame Bonvallé, directrice de recherche à l'INSERM.
Elle a été publiée dans le
Jim (Journal International de Médecine) n° 103, rubrique "Pitres et Travaux" dans le milieu des années 1980.
Mis en ligne avec l'aimable autorisation du Jim le 28 juil 2004.

La version habituellement connue et que vous pouvez lire par le lien English est publiée au SEUIL collection "La librairie du XX° siècle" dans le recueil "CANTATRIX SOPRANICA L. et autres écrits scientifiques" ...retour
Je suis heureux que les deux versions puissent être ainsi confrontées...